WTF?! The automobile is a sanctuary for private conversations, but that may become a thing of the past if Ford ever develops a patent it has filed to listen to in-vehicle conversations for targeted advertising purposes. The patent is part of a broader industry shift in which automakers are increasingly exploring ways to monetize user data.
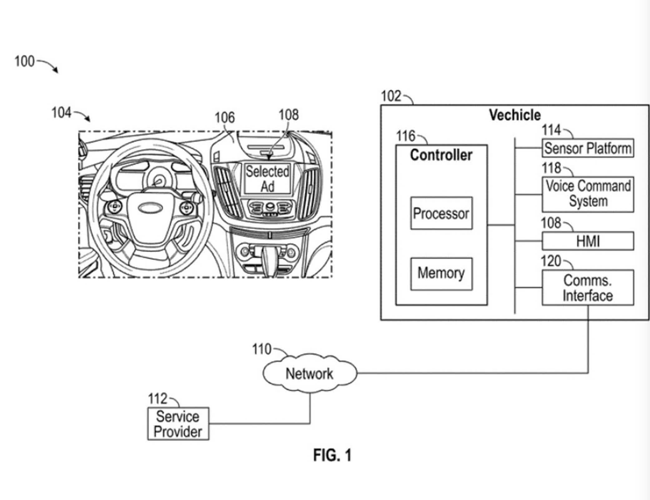
Ford's patent application outlines an in-vehicle advertising system that would deliver targeted ads to drivers and passengers. The system would analyze several factors to customize the ads, such as the vehicle's location, speed, road type, and traffic conditions.
More controversially, the patent application suggests the system could monitor conversations in the vehicle to identify keywords that would flag their destination or interests. Then, it would tailor the ads according to whether the trip is a leisure drive in the country, for instance, or an appointment to a medical facility.
According to the application, the technology aims to "provide maximum opportunity for ad-based monetization" by using predictive algorithms to determine the optimal time and format to deliver ads. For instance, the system might choose an audio ad over a visual one if passengers were engaged in conversation.
The application also mentions using historical user data and third-party app information to refine ad targeting.
Ford has defended the reasoning behind the patent application.
"Submitting patent applications is a normal part of any strong business as the process protects new ideas and helps us build a robust portfolio of intellectual property," a Ford spokesperson told The Record. "The ideas described within a patent application should not be viewed as an indication of our business or product plans."
In a follow-up statement, Ford said it "will always put the customer first in the decision-making behind the development and marketing of new products and services." The patent application does not offer specifics regarding data protection measures, likely causing privacy advocates to feel uneasy.
It also should be noted that auto manufacturers have been found to sell data about drivers' habits behind the wheel to auto insurance companies, which is then used to set insurance rates. This suggests that they view user data as another revenue stream to market to interested parties other than advertisers.
Ford has filed other patent applications that have raised privacy concerns.
One recent example is a patent for "Systems and Methods for Detecting Speeding Violations," which would use onboard cameras to capture images of speeding vehicles, collect GPS data, and send it directly to law enforcement authorities.
Another controversial patent, which Ford later abandoned after widespread criticism, proposed a system for repossessing vehicles from owners who had missed payments. The system would either direct self-driving cars to repossession lots or disable standard vehicles by locking their steering wheels, brakes, and air conditioning.
 